Packaging Basics | An Overview of "Perfume Pump" Manufacturing Process, Technical Principles, and Procurement Key Points
The perfume pump is a crucial precision component in perfume products, directly determining the user experience, shelf life, and brand image of the product. Below, I will provide a detailed introduction from six aspects: definition, functional structure, technical key points, procurement key points, quality control key points, and cost structure. This content is intended solely to support procurement decisions for partners of the Youpin community.
ONE
Perfume pump fixation

A perfume pump is a precision mechanical liquid dispensing device specially designed for highly volatile, high-alcohol-content liquids (typically 70%-95% ethanol) and high-value liquids. It is usually installed on the neck of a perfume bottle. By pressing the spray head, the internal piston, spring, and valve work together to draw a measured amount of perfume from the bottle and atomize it into a fine mist.
Its core values are: precise measurement, effective sealing to prevent evaporation and leakage, creation of an ideal atomization effect, providing a comfortable and smooth pressing feel, and possessing good decorative properties.
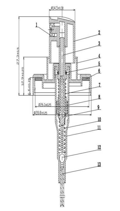
TWO
Perfume pumpFunctional summary

A typical perfume pump is mainly composed of the following components, divided by functional areas:
1. External/User Interaction Section:
Actuator/Nozzle: The part pressed by the user, typically containing an atomizing nozzle (with extremely small aperture) inside, responsible for dispersing the liquid into a mist. The material is mostly plastic (ABS, POM, AS, etc.) or metal (gold-plated, chrome-plated, etc.), and the surface can undergo decorative treatments such as electroplating, spraying, or UV coating.
The outer casing/decorative cover: covers the exterior of the pump body, serving protective and decorative purposes. It features diverse materials and craftsmanship and is an important reflection of brand design.
2. Core/Functional Part of the Pump Body:
Pump chamber/cylinder: The core working cavity, with precise piston movement inside. The material must be highly chemical-resistant (such as PP, PE, PCTG, POM, glass). The inner wall requires a very high degree of smoothness.
Piston: Moves reciprocally within the pump chamber to generate suction and pressure. It is usually made of solvent-resistant rubber (such as EPDM or FKM fluoroelastomer) or special plastics (such as POM), and fits closely against the inner wall of the pump chamber to form a seal.
Piston rod/valve stem: Connects the button and the piston, transmitting the pressing force. It is often designed with liquid channels and valve structures internally. The material is mostly POM or stainless steel.
Spring: Provides the return force for the button head and assists in resetting the piston. The material must be highly corrosion-resistant (usually 302/304 stainless steel). The spring's force directly affects the pressing feel and rebound speed.
Ball valve/check valve:
Inlet ball valve: Located at the bottom of the suction tube or pump body, it only allows liquid to enter the pump chamber from the bottle and prevents backflow. It is usually made of a glass ball (inert) or a solvent-resistant plastic ball (such as PP), working in conjunction with the valve seat.
Outlet ball valve/sealing bead: (present in some designs) Located inside the piston or valve stem, it seals the outlet channel when not pressed, preventing air from entering and perfume from evaporating. It opens during pressing to allow liquid to flow out.
Valve seat: Works in conjunction with the ball valve to form a sealing surface. The material should be corrosion-resistant and have moderate hardness (such as POM).
Straw: Inserted to the bottom of the bottle to guide liquid into the pump chamber. Usually made of PP or PE. The length needs to fit the bottle shape, and the bottom is often cut at an angle or with a notch to facilitate liquid absorption.
3. Fixing and sealing parts:
Gasket/Seal Ring: Located between the pump body and the bottle neck to ensure a tight seal, preventing leakage and evaporation. The material is mostly EPDM or FKM (fluororubber), requiring high resilience and low permanent compression set.
Lock cap/fixing ring: Usually made of aluminum or plastic, it mechanically secures the pump body onto the bottle neck through twisting or pressing, and compresses the sealing gasket tightly.
THREE
Perfume pumpTechnical Points

1. Material Compatibility:
All components in contact with the perfume (pump chamber, piston, ball valve, valve seat, dip tube, gasket) must be able to withstand long-term exposure to high-concentration alcohol, fragrance compounds (which may contain esters, aldehydes, etc.), and solvents without swelling, dissolving, cracking, leaching, or undergoing chemical reactions.
2. Sealing Performance:
Static sealing: The bottle cap liner must effectively seal the bottle opening.
Dynamic sealing: The sealing between the piston and the inner wall of the pump chamber is crucial, and it must maintain good sealing performance during long-term reciprocating motion to prevent alcohol evaporation and aroma loss.
Valve Sealing: The inlet valve and outlet valve (if any) must be tightly closed in the non-operating state to prevent air ingress and liquid evaporation. Fluorination treatment is commonly used to enhance the surface inertness and sealing performance of the sealing components.
3. Atomization Performance:
The nozzle aperture, internal vortex structure design, and liquid pressure together determine the fineness, uniformity, cone angle, and atomization form (such as fan-shaped or conical) of the spray. It is necessary to achieve the consumer's expectation of a "mist-like lightness" effect.
4. Measurement accuracy and consistency:
The amount of liquid discharged per press (usually 0.05ml - 0.2ml) must be accurate and consistent, with minimal variation between batches.
5. Pressing sensation:
The design of spring force and friction needs to be balanced to provide a smooth, effortless, quick-rebound pressing experience with a "premium feel." Travel and initial force are the key parameters.
6. Volatility resistance / fragrance retention:
This is the core feature that distinguishes perfume pumps from ordinary pumps. Through multiple sealing designs, high-quality sealing materials (especially fluororubber), valve sealing, and sometimes by filling the pump with inert gas or employing special vacuum designs, the air in the upper space is minimized to the greatest extent, thereby delaying the oxidation and evaporation of the perfume.
7. Compatibility and Adaptability:
The size of the pump (especially the bottle neck thread specification) and the length of the dip tube must perfectly match the bottle type. The output volume of the pump should be compatible with the viscosity and surface tension of the perfume.
8. Physicochemical stability:
After long-term storage, the components do not deform or age, the springs do not fail, and the liquids remain unpolluted.
FOUR
Perfume pumpProcurement Key Points

1. Clarify requirements:
Determine the required pump type (such as spray volume, spray pattern, actuator style, decoration requirements), material grade, sealing level (ordinary/high fragrance retention), bottle neck size, and target cost.
2. Supplier Qualification Review:
Professional experience: Are you specialized in or do you have extensive experience in manufacturing high-end perfume pumps?
Technical capabilities: material research and development, mold precision, automated production, and completeness of testing equipment (especially for sealing performance and atomization tests).
Quality System: Has it passed ISO 9001 and ISO 22716 (GMP for Cosmetics) certification?
Compliance: Does the material comply with relevant regulations (such as REACH, RoHS, FDA contact requirements)? Is there a complete Material Safety Data Sheet and a Declaration of Conformity?
Production capacity and supply chain stability: Can stable supply and delivery be ensured?
3. Sample Evaluation:
Strict testing:
Compatibility Testing: Fill the pump with the actual perfume formulation and store it under accelerated aging conditions (such as 40°C/75%RH) for 1-3 months or even longer. Observe any changes in components, the stability of the liquid (such as turbidity, precipitation, discoloration, or odor changes), and whether the pump functions properly.
Sealing Test: Weight Loss Method (weighing the filled bottle to measure weight loss over a period of time), Vacuum Holding Test (simulating low pressure during air transport), Inverted Leakage Test, etc.
Functional Testing: Spray volume accuracy and consistency test, spray pattern observation, actuation feel evaluation, rebound speed, pump empty test (whether it can re-prime the liquid).
Physical testing: spring force, component dimensional accuracy, appearance inspection (burrs, scratches, plating/coating quality).
4. Supplier Collaboration and Communication: Confirm their technical response speed, problem-solving ability, customization capability, minimum order quantity, and delivery lead time.
5. Cost and Business Terms: Compare prices while meeting quality and functional requirements. Consider the total cost of ownership (including potential quality risk costs).
FIVE
Perfume pumpQuality Control Key Points
1. Incoming Material Inspection: Strictly inspect all raw materials (plastic pellets, rubber, spring steel, glass beads, metal parts) for material certification, dimensions, appearance, and key properties (such as solvent resistance and permanent compression deformation of rubber).
2. Process Control:
Injection Molding/Forming: Control parameters such as temperature, pressure, and time to ensure dimensional accuracy of parts, no flash, no shrinkage, and smooth inner walls.
Assembly: Conducted in a cleanroom (typically requiring at least Class 100,000) to avoid contamination. Key workstations (such as piston installation into the pump chamber and valve assembly) require focused monitoring. Use automated equipment to ensure consistency and efficiency.
Spring force inspection: online or offline sampling inspection of spring force.
Online Function Test: Perform basic functional tests on each pump or by batch (such as checking whether pressing is smooth and whether liquid is dispensed).
3. Outgoing Inspection:
Appearance Inspection: 100% inspection or AQL sampling inspection for appearance defects (stains, scratches, deformation, poor plating, etc.).
Size Inspection: Randomly inspect key dimensions (such as bottle neck fitting dimensions and overall height).
Performance Spot Check:
Spray volume test: Press the specified number of times (e.g., 10 times), collect and weigh the total output liquid, and calculate the average spray volume per press to determine if it meets the specifications.
Sealing test: The vacuum pressure-holding method is usually used: a pump is installed on a test bottle containing a specific liquid, vacuumed to a certain negative pressure (simulating air transport conditions), and pressure is maintained for a period of time to observe pressure decay or liquid leakage. The weight loss method is also commonly used (weighing the initial weight, then reweighing after placing it upside down or upright for a period of time).
Spray mode inspection: visually check or use a spray mode analyzer to examine the spray pattern, uniformity, and any dripping.
Press feel evaluation: spot check press travel, starting force, and resilience.
4. Batch traceability: Ensure that each pump or batch is clearly identified and traceable to raw material batches, production dates, production lines, and other information.
5. Stability Monitoring: Conduct regular long-term storage stability tests.
SIX
Perfume pumpCost Structure
The cost structure of perfume pumps is relatively complex and is greatly influenced by factors such as brand positioning (luxury vs. mass market), design complexity, material selection, purchase volume, and the degree of automation. The approximate proportions are as follows (for reference):

1. Raw material costs:
Plastic particles (30-40%): Main components such as pump body, press head, outer casing, straw, etc. The cost is affected by chemical resistance grade (such as PCTG vs PP), whether it is transparent, and whether special color masterbatches are added.
Metal parts (15-25%): Spring (one of the core costs, high-quality stainless steel), lock cover (aluminum or steel), decorative metal nozzle/outer casing (gold-plated, chrome-plated, etc.).
Rubber/Elastomer (10-20%): Pistons, sealing gaskets. The cost of high-performance fluoroelastomers is much higher than that of ordinary EPDM.
Others (5-10%): Glass beads (ball valves), packaging materials (liners, turnover boxes), etc.
2. Manufacturing and Processing Costs (20-35%):
Injection Molding/Forming: Mold cost (high-precision molds are expensive and need to be amortized), equipment depreciation, energy consumption, labor.
Secondary processing: decorative processes such as electroplating, spraying, UV coating, and laser engraving have higher costs.
Assembly: Cost of manual or automated equipment. Cleanroom environment maintenance cost.
Fluorination: A key process for enhancing sealing performance, significantly increasing costs.
3. Quality Control and Testing Costs (5-15%): Investment in testing equipment (such as automated testers, atomization analyzers), labor inspection costs, laboratory testing expenses (compatibility, stability), and quality personnel costs.
4. R&D and Mold Amortization (5-15%): The structural design of new pump models and mold development (ranging from hundreds of thousands to millions of RMB) need to be apportioned to each pump. The higher the degree of customization, the greater this proportion.
5. Management, Profit, and Logistics (15-30%): Corporate management expenses, supplier profits, transportation and storage costs.
Summarize key cost drivers
High-performance materials: FKM piston/gasket > EPDM; PCTG/POM pump body > PP; 304 stainless steel spring > ordinary steel.
Complex structures and decorations: multi-layer electroplating, special surface effects (matte, pearlescent), and uniquely shaped button designs.
Ultra-high standard sealing/aroma preservation requirements: more complex structural design, more precise processing, and stricter testing (such as vacuum filling technology) are needed.
Procurement volume: The larger the quantity, the lower the unit cost (as mold and fixed costs are allocated over more units).
Automation level: Highly automated assembly lines require large initial investments, but in the long run, they can improve consistency and reduce labor costs.
SEVEN
Perfume pump
Sustainability: Use of recycled materials (PCR), recyclable design, reduction in the number of components, lightweighting.
Replaceable Cartridge: Design a pump body structure that supports replacing the inner cartridge to reduce packaging waste.
Customization and differentiation: unique nozzle design, innovative surface treatment processes, integration of brand-exclusive elements.
Higher fragrance retention technology: continuously improving sealing materials and structures to extend the shelf life of perfumes and enhance user experience.
Prototype of Smart Pump: Exploring the integration of micro sensors or chips for anti-counterfeiting, usage tracking, etc. (still in early stages).
【Copyright and Disclaimer】The above information is collected and organized by PlastMatch. The copyright belongs to the original author. This article is reprinted for the purpose of providing more information, and it does not imply that PlastMatch endorses the views expressed in the article or guarantees its accuracy. If there are any errors in the source attribution or if your legitimate rights have been infringed, please contact us, and we will promptly correct or remove the content. If other media, websites, or individuals use the aforementioned content, they must clearly indicate the original source and origin of the work and assume legal responsibility on their own.
Most Popular
-
India's Q3 Smartphone Shipments Rise 3%; Japanese Mold Factory Closures Surge; Mercedes-Benz Cuts 4,000 Jobs
-
Ascend's Restructuring Plan Approved! Jwell Launches Global Acceleration Plan; Nexperia Chip Crisis Threatens Global Auto Production
-
Dow To Restart Pe Units 5 And 7 This Week, Recovery Date For Unit 6 Remains Undetermined In The United States (US)
-
Key Players: The 10 Most Critical Publicly Listed Companies in Solid-State Battery Raw Materials
-
The Roller-Coaster Behind Sanhua Intelligent Controls' Stock Price: What Are the Advantages of Automotive Thermal Management Companies Crossing Into Humanoid Robots?